(本文素材源于专利US20250296235A1)描述了一种用于机器人末端执行器的传感器模块。该传感器模块包括一个基板,基板上形成有一组接近传感器和一组压力传感器,该组接近传感器和该组压力传感器被配置为具有重叠的感测区域;以及一个耦合到基板的覆盖层(Cover),该覆盖层包含允许来自该组接近传感器的信号穿透该材料进行传输的材料。
图片来源:Google Gemini Nano Banana Pro 生成
技术领域
[0002] 本公开一般涉及机器人技术,更具体地涉及用于向机器人末端执行器提供传感功能的系统、方法和装置。
背景技术
[0003] 机器人通常被定义为一种可重新编程的多功能操纵器,设计用于移动材料、部件、工具和/或专用设备(例如,通过可变的编程动作)以执行任务。机器人可以包括物理固定的操纵器(例如工业机械臂)、在整个环境中移动的移动设备(例如使用腿、轮子或基于牵引的机构),或者一个或多个操纵器与一个或多个移动设备的某种组合。机器人目前被用于各种行业,包括例如制造、仓库物流、运输、危险环境、探索和医疗保健。
发明内容
[0004] 当今各种环境都要求高水平的自动化,例如工厂、运输设施、材料处理设施和仓库等。一项值得自动化的典型任务是取放操作(例如,从容器中取出和/或放入各种零件),但自动化这项任务面临挑战。例如,要执行成功的取放操作,机器人应该牢固地抓取物体并在整个操作过程中保持牢固的抓取。机器人可能包括感知系统(例如,一个或多个摄像头),其可用于确定物体上适合机器人末端执行器(例如夹具)抓取的区域。然而,系统中的噪声(例如,感知系统的校准误差、机器人控制系统的校准误差等)可能导致机器人尝试抓取物体时,末端执行器位置与物体位置之间出现未对准。触觉传感器是一种测量因与传感器环境的物理相互作用而产生的信息的设备。例如,触觉传感可以模仿或模拟人类皮肤中感知物理触摸的受体。本公开的一些实施例通过向机器人的末端执行器提供触觉传感功能,实现了更可靠的物体抓取。例如,布置在抓取表面附近的触觉传感器可以向机器人的控制系统提供反馈,以便根据需要调整机器人末端执行器的抓取姿态,从而执行对物体的牢固抓取。此外,一旦被机器人末端执行器抓取,如果没有在末端执行器层级提供的接触反馈,操纵物体可能会具有挑战性。本公开的一些实施例通过使用触觉传感在操纵物体期间监测并向机器人的控制系统提供反馈,促进了对物体的“动态抓取”。
[0005] 本发明包括用于向机器人末端执行器提供触觉传感功能的系统、方法和装置。在一个说明性实施例中,机器人末端执行器包括一个具有一组(例如,一个、两个、三个、四个、五个或不同数量)手指的夹具,每个手指具有两个独立驱动的指节。每个手指还可以包括一个触觉传感器,配置用于感测到物体的距离(例如,在与物体接触之前)以及物体施加在传感器上的接触力(例如,在与物体接触期间)。然而,本领域普通技术人员将很容易理解,在不脱离本发明的精神和范围的情况下,各种其他实现方式也是可能的。
[0006] 在一些实施例中,本发明的特征在于一种用于机器人末端执行器的传感器模块。该传感器模块包括一个基板,基板上形成有一组接近传感器和一组压力传感器,该组接近传感器和该组压力传感器被配置为具有重叠的感测区域;以及一个耦合到基板的覆盖层,该覆盖层包含允许来自该组接近传感器的信号穿透该材料进行传输的材料。
[0007] 在一方面,该传感器模块还包括形成在基板和覆盖层之间的刚性结构。在另一方面,该刚性结构包括一个板,该板中形成了用于该组接近传感器和该组压力传感器的孔。在另一方面,该刚性结构包括金属结构。在另一方面,覆盖层的至少一部分机械耦合到基板。在另一方面,覆盖层的该至少一部分包裹住基板的边缘。在另一方面,覆盖层包括弹性体。在另一方面,该组接近传感器包括至少一个飞行时间(Time-of-flight)传感器。在另一方面,该组接近传感器包括至少一个雷达传感器。在另一方面,该组压力传感器包括一组气压换能器(barometric transducers)。在另一方面,该组接近传感器包括单个接近传感器,该组压力传感器包括至少四个布置在单个接近传感器邻近处的压力传感器。在另一方面,该组压力传感器包括至少八个压力传感器。在另一方面,该组压力传感器被配置为提供当与物体接触时覆盖层上的接触压力分布。在另一方面,该组压力传感器被配置为以至少 200 Hz 的速率感测接触数据。在另一方面,该组接近传感器被配置为以至少 100 Hz 的速率感测距离数据。在另一方面,该传感器模块还包括一个组件,配置用于结合来自该组压力传感器的接触数据和来自该组接近传感器的距离数据,以产生单一数据流。在另一方面,基板包括印刷电路板。
[0008] 在另一方面,该组接近传感器被配置为投射光学信号,且覆盖层包括光学半透明材料。在另一方面,该组接近传感器被配置为投射声学信号,且覆盖层包括声学透明材料。在另一方面,该组接近传感器被配置为投射电磁信号,且覆盖层包括非导电材料。在另一方面,该组接近传感器包括单个接近传感器,且该组压力传感器包括至少三个布置在单个接近传感器邻近处的压力传感器。在另一方面,该组压力传感器中每个压力传感器的动态范围为 1-300N。
[0009] 在一些实施例中,本发明的特征在于一种用于机器人的装置。该装置包括一个基座,以及至少两个耦合到基座的模块。每个模块包括一个近端连杆和一个耦合到近端连杆的远端连杆。每个远端连杆包括一个传感器模块。该传感器模块包括一个基板,基板上形成有一组接近传感器和一组压力传感器,该组接近传感器和该组压力传感器被配置为具有重叠的感测区域;以及一个耦合到基板的覆盖层,该覆盖层包含允许来自该组接近传感器的信号穿透该材料进行传输的材料。
[0010] 在一方面,该传感器模块还包括形成在基板和覆盖层之间的刚性结构。在另一方面,该刚性结构包括一个板,该板中形成了用于该组接近传感器和该组压力传感器的孔。在另一方面,该刚性结构包括金属结构。在另一方面,覆盖层的至少一部分包裹住基板的边缘。在另一方面,覆盖层包括弹性体。在另一方面,该组接近传感器包括至少一个飞行时间传感器。在另一方面,该组接近传感器包括至少一个雷达传感器。在另一方面,该组压力传感器包括一组气压换能器。在另一方面,该组接近传感器包括单个接近传感器,该组压力传感器包括至少四个布置在单个接近传感器邻近处的压力传感器。在另一方面,该组压力传感器包括至少八个压力传感器。在另一方面,该组压力传感器被配置为提供当与物体接触时覆盖层上的接触压力分布。在另一方面,该组压力传感器被配置为以至少 200 Hz 的速率感测接触数据。在另一方面,该组接近传感器被配置为以至少 100 Hz 的速率感测距离数据。在另一方面,该传感器模块还包括一个组件,配置用于结合来自该组压力传感器的接触数据和来自该组接近传感器的距离数据,以产生单一数据流。在另一方面,基板包括印刷电路板。
[0011] 在另一方面,该组接近传感器被配置为投射光学信号,且覆盖层包括光学半透明材料。在另一方面,该组接近传感器被配置为投射声学信号,且覆盖层包括声学透明材料。在另一方面,该组接近传感器被配置为投射电磁信号,且覆盖层包括非导电材料。在另一方面,该组接近传感器包括单个接近传感器,且该组压力传感器包括至少三个布置在单个接近传感器邻近处的压力传感器。在另一方面,该组压力传感器中每个压力传感器的动态范围为 1-300N。
[0012] 在另一方面,该至少两个模块包括至少三个模块。在另一方面,该至少三个模块中的至少一个的第一模块被配置为相对于该至少三个模块中的第二模块旋转成相对配置,在相对配置中,第一模块的传感器模块与第二模块的传感器模块彼此面对。在另一方面,该装置是机器人末端执行器。
[0013] 在一些实施例中,本发明的特征在于一种用机器人末端执行器抓取物体的方法。该方法包括:接收来自安装在机器人末端执行器上的一组接近传感器的距离数据,其中距离数据指示该组接近传感器与物体之间的距离;至少部分基于接收到的距离数据控制机器人末端执行器接近物体;接收来自安装在机器人末端执行器上的一组压力传感器的接触数据,该组压力传感器被配置为具有与该组接近传感器重叠的感测区域;以及至少部分基于接收到的接触数据控制机器人末端执行器抓取物体。
[0014] 在一方面,距离数据是在与物体接触之前接收的。在另一方面,接触数据是在与物体接触之后接收的。在另一方面,该组接近传感器包括至少一个飞行时间传感器,该方法还包括从该组接近传感器投射光学信号,且接收距离数据包括接收响应于投射光学信号而从物体反射的信号。在另一方面,该组接近传感器和该组压力传感器具有重叠的感测场。在另一方面,该方法还包括基于接触数据确定在形成于该组压力传感器之上的覆盖层上的接触压力分布,且控制机器人末端执行器抓取物体包括至少部分基于覆盖层上的接触压力分布来控制机器人末端执行器抓取物体。在另一方面,接收接触数据包括以至少 200 Hz 的速率接收接触数据。在另一方面,接收距离数据包括以至少 100 Hz 的速率接收距离数据。在另一方面,该方法还包括结合接触数据和距离数据以产生单一数据流。
[0015] 在一些实施例中,本发明的特征在于一种操纵已抓取物体的方法。该方法包括:从布置在机器人第一末端执行器的第一连杆上的第一触觉传感器接收第一触觉传感器数据,其中第一触觉传感器数据包括描述从已抓取物体施加到第一触觉传感器的力的第一接触数据;以及至少部分基于物体操纵目标和第一触觉传感器数据,调整对已抓取物体的抓取。
[0016] 在一方面,施加到第一触觉传感器的力是施加到第一触觉传感器表面的力分布。在另一方面,该方法还包括从布置在第一机器人末端执行器的第二连杆上的第二触觉传感器接收第二触觉传感器数据,其中第二触觉传感器数据包括描述从已抓取物体施加到第二触觉传感器的力的第二接触数据或指示从第二触觉传感器到已抓取物体的距离的距离数据,且调整对已抓取物体的抓取还至少部分基于第二触觉传感器数据。在另一方面,施加到第二触觉传感器的力是施加到第二触觉传感器表面的力分布。
[0017] 在另一方面,该方法还包括从布置在第二机器人末端执行器的第一连杆上的第二触觉传感器接收第二触觉传感器数据,其中第二触觉传感器数据包括描述从已抓取物体施加到第二触觉传感器的力的第二接触数据或指示从第二触觉传感器到已抓取物体的距离的距离数据,且调整对已抓取物体的抓取还至少部分基于第二触觉传感器数据。在另一方面,物体操纵目标包括在第一机器人末端执行器内移动已抓取物体的位置。在另一方面,物体操纵目标包括将已抓取物体从第一机器人末端执行器转移到第二机器人末端执行器。在另一方面,物体操纵目标包括协调第一机器人末端执行器与和已抓取物体接触的第二机器人末端执行器之间的抓取。在另一方面,物体操纵目标包括提升已抓取物体。在另一方面,物体操纵目标包括释放对已抓取物体的抓取。在另一方面,物体操纵目标包括将已抓取物体放置在特定位置。在另一方面,接收第一触觉传感器数据包括在调整抓取期间连续接收第一触觉传感器数据。
附图说明
[0018] 结合附图参考以下描述,可以更好地理解本发明的优点以及进一步的优点。附图不必按比例绘制,重点在于说明本发明的原理。

[0019] 图 1A 展示了根据本发明一个说明性实施例的机器人设备的示例配置。

[0020] 图 1B 展示了根据本发明一个说明性实施例的耦合到机器人末端执行器的机器人设备的示例配置。

[0021] 图 2A 展示了根据本发明一个说明性实施例的人形机器人的示例。

[0022] 图 2B 展示了根据本发明一个说明性实施例的具有两个机器人末端执行器的人形机器人的示例。

[0023] 图 3 是根据本发明一个说明性实施例的包括触觉传感器的示例机器人末端执行器的示意图。
[0024] 图 4A、4B 和 4C 分别是根据本发明一个说明性实施例的布置在机器人末端执行器远端连杆上的触觉传感器的俯视图、侧视图和等轴测视图。

[0025] 图 5A 是根据本发明一个说明性实施例的触觉传感器的分解视图。
[0026] 图 5B、5C 和 5D 分别是根据本发明一个说明性实施例的组装好的触觉传感器的俯视图、侧视图和底视图。

[0027] 图 6A 是根据本发明一个说明性实施例的布置在机器人末端执行器远端连杆上的触觉传感器的俯视图。
[0028] 图 6B 是图 6A 所示触觉传感器的侧面透明视图。
[0029] 图 6C 示意性地展示了根据本发明一个说明性实施例的在触觉传感器表面上感测到的力分布。
[0030] 图 6D 示意性地展示了根据本发明一个说明性实施例的由传感器模块感测到的距离测量值。

[0031] 图 7A 是根据本发明一个说明性实施例的布置在机器人末端执行器远端连杆上的触觉传感器的等轴测视图。
[0032] 图 7B 是图 7A 所示触觉传感器的等轴测透明视图。
[0033] 图 7C 是图 7B 所示触觉传感器的侧面透明视图。

[0034] 图 8 是根据本发明一个说明性实施例的示例方法的流程图。

[0035] 图 9 是根据本发明一个说明性实施例的另一示例方法的流程图。
具体实施方式
[0036] 一个示例实现涉及配置有至少一个机器人肢体、一个或多个传感器和处理系统的机器人设备。机器人肢体可以是包括通过关节连接的多个构件的关节式机器人附属物。机器人肢体还可以包括耦合到肢体构件的多个致动器(例如,2-5 个致动器),这有助于机器人肢体在受连接构件的关节限制的运动范围内移动。传感器可以配置为测量机器人设备的属性,例如关节的角度、致动器内的压力、关节扭矩,和/或给定时间点机器人肢体构件的位置、速度和/或加速度。传感器还可以配置为测量机器人设备身体(在本文中也可称为机器人设备的“基座”)的取向(例如,身体取向测量值)。其他示例属性包括机器人设备各组件的质量等。机器人设备的处理系统可以确定机器人肢体的关节角度,可以直接从角度传感器信息确定,也可以间接地从可以计算出关节角度的其他传感器信息确定。处理系统随后可以基于感测到的机器人设备基座的取向和关节角度来估计机器人设备的取向。
[0037] 取向(Orientation)在本文中可以指物体的角位置。在某些情况下,取向可以指绕三个轴的旋转量(例如,以度或弧度为单位)。在某些情况下,机器人设备的取向可以指机器人设备相对于特定参考系(例如地面或其站立的表面)的取向。取向可以使用欧拉角(Euler angles)、泰特-布莱恩角(Tait-Bryan angles,也称为偏航角、俯仰角和滚动角)和/或四元数来描述角位置。在某些情况下,例如在计算机可读介质上,取向可以由取向矩阵和/或取向四元数以及其他表示形式来表示。
[0038] 在某些场景下,来自机器人设备基座上的传感器的测量值可能表明机器人设备以某种方式取向和/或具有线性及/或角速度,这需要控制一个或多个关节式附属物以维持机器人设备的平衡。然而,在这些场景中,可能的情况是机器人设备的肢体取向和/或移动方式使得不需要平衡控制。例如,机器人设备的身体可能向左倾斜,测量身体取向的传感器因此可能指示需要移动肢体来平衡机器人设备;然而,机器人设备的一个或多个肢体可能向右伸展,导致机器人设备实际上是平衡的,尽管机器人设备基座上的传感器指示并非如此。机器人设备的肢体可能会对机器人设备的身体施加扭矩,也可能影响机器人设备的质心。因此,机器人设备某一部分的取向和角速度测量值可能不能准确地代表机器人设备身体和肢体组合(在本文中也可称为“聚合”取向和角速度)的取向和角速度。
[0039] 在一些实现中,处理系统可以被配置为基于感测到的机器人设备基座的取向和测量的关节角度来估计整个机器人设备的聚合取向和/或角速度。处理系统存储有机器人设备的关节角度与机器人设备的关节角度影响机器人设备基座的取向和/或角速度的程度之间的关系。机器人设备的关节角度与机器人设备基座的运动之间的关系可以基于机器人设备肢体的运动学和质量属性来确定。换句话说,该关系可以指定关节角度对机器人设备的聚合取向和/或角速度的影响。此外,处理系统可以被配置为确定由内部运动引起的机器人设备的取向和/或角速度的分量,以及由外部运动引起的机器人设备的取向和/或角速度的分量。此外,处理系统可以微分聚合取向的分量,以确定机器人设备的聚合偏航率、俯仰率和滚动率(统称为“聚合角速度”)。
[0040] 在一些实现中,机器人设备还可以包括控制系统,该控制系统配置为基于机器人设备的简化模型来控制机器人设备。控制系统可以配置为接收估计的机器人设备聚合取向和/或角速度,并随后控制机器人设备的一个或多个关节肢体以某种方式表现(例如,维持机器人设备的平衡)。例如,控制系统可以基于聚合取向确定放置机器人设备脚的位置和/或机器人设备脚对表面施加的力。
[0041] 在一些实现中,机器人设备可以包括测量或估计外力(例如,机器人设备的腿对地面施加的力)的力传感器,以及测量机器人设备肢体取向的运动学传感器。处理系统可以被配置为基于传感器测量的信息确定机器人设备的角动量。控制系统可以配置有基于反馈的状态观测器,该观测器接收测量的角动量和聚合角速度,并提供机器人设备角动量的降噪估计。状态观测器还可以接收作用在机器人设备上的扭矩或力的测量值和/或估计值,并将其与其他信息一起作为基础,以确定机器人设备角动量的降噪估计。
[0042] 控制系统可以配置为致动连接在机器人腿组件上的一个或多个致动器。致动器可以被控制以升高或降低机器人腿。在某些情况下,机器人腿可以包括用于控制机器人腿在三个维度上运动的致动器。根据具体实现,控制系统可以配置为使用聚合取向以及其他传感器测量值作为基础,以某种方式控制机器人(例如,静态平衡、行走、跑步、疾驰等)。
[0043] 在一些实现中,处理系统上可以存储关节角度与其对机器人设备基座取向和/或角速度的影响之间的多种关系。处理系统可以基于关节角度选择特定关系来确定聚合取向和/或角速度。例如,一种关系可能与特定关节在 0 到 90 度之间相关联,而另一种关系可能与特定关节在 91 到 180 度之间相关联。与其他关系相比,所选关系可以更准确地估计机器人设备的聚合取向。
[0044] 在一些实现中,处理系统上可以存储多于一种的机器人设备关节角度与关节角度影响机器人设备基座取向和/或角速度程度之间的关系。每个关系可以对应于一个或多个关节角度值范围(例如,操作范围)。在一些实现中,机器人设备可以在一种或多种模式下运行。操作模式可以对应于一个或多个关节角度处于相应的操作范围组内。在这些实现中,每种操作模式可以对应于某种关系。
[0045] 机器人设备的角速度可以具有描述机器人设备沿多个平面的取向(例如,旋转角度)的多个分量。从机器人设备的角度来看,机器人设备向左或向右转动的旋转角度在本文中可以称为“偏航(yaw)”。机器人设备向上或向下的旋转角度在本文中可以称为“俯仰(pitch)”。机器人设备向左或向右倾斜的旋转角度在本文中可以称为“滚动(roll)”。此外,偏航、俯仰和滚动的变化率在本文中可以分别称为“偏航率”、“俯仰率”和“滚动率”。
[0046] 现在参考附图,图 1A 展示了根据本发明一个说明性实施例的机器人设备(或“机器人”)100 的示例配置。机器人设备 100 代表了配置为执行本文所述操作的示例机器人设备。此外,机器人设备 100 可以配置为自主、半自主地操作,和/或使用用户提供的指令操作,并且可以以各种形式存在,例如人形机器人、双足机器人、四足机器人或其他移动机器人等。此外,机器人设备 100 也可以称为机器人系统、移动机器人或机器人等名称。
[0047] 如图 1A 所示,机器人设备 100 包括处理器 102、数据存储器 104、程序指令 106、控制器 108、传感器 110、电源 112、机械部件 114 和电气部件 116。机器人设备 100 仅用于说明目的,在不脱离本文公开范围的情况下,可以包括更多或更少的组件。机器人设备 100 的各种组件可以以任何方式连接,包括通过电子通信装置,例如有线或无线连接。此外,在一些示例中,机器人设备 100 的组件可以位于多个不同的物理实体上,而不是位于单个物理实体上。机器人设备 100 的其他示例说明也可能存在。
[0048] 处理器 102 可以作为一个或多个通用处理器或专用处理器(例如,数字信号处理器、专用集成电路等)运行。处理器 102 可以配置为执行存储在数据存储器 104 中的计算机可读程序指令 106,并且可执行以提供本文所述的机器人设备 100 的操作。例如,程序指令 106 可以执行以提供控制器 108 的操作,其中控制器 108 可以配置为导致机械部件 114 和电气部件 116 的激活和/或停用。处理器 102 可以操作并使机器人设备 100 能够执行各种功能,包括本文所述的功能。
[0049] 数据存储器 104 可以作为各种类型的存储介质存在,例如存储器。例如,数据存储器 104 可以包括或采取一个或多个计算机可读存储介质的形式,这些介质可以由处理器 102 读取或访问。该一个或多个计算机可读存储介质可以包括易失性和/或非易失性存储组件,例如光学、磁性、有机或其他存储器或磁盘存储,它们可以全部或部分地与处理器 102 集成。在一些实现中,数据存储器 104 可以使用单个物理设备(例如,一个光学、磁性、有机或其他存储器或磁盘存储单元)来实现,而在其他实现中,数据存储器 104 可以使用两个或多个物理设备来实现,这些设备可以进行电子通信(例如,通过有线或无线通信)。此外,除了计算机可读程序指令 106 之外,数据存储器 104 还可以包括其他数据,例如诊断数据等。
[0050] 机器人设备 100 可以包括至少一个控制器 108,该控制器可以与机器人设备 100 接口。控制器 108 可以充当机器人设备 100 各部分之间的链接,例如机械部件 114 和/或电气部件 116 之间的链接。在某些情况下,控制器 108 可以充当机器人设备 100 与另一个计算设备之间的接口。此外,控制器 108 可以充当机器人设备 100 与用户之间的接口。控制器 108 可以包括用于与机器人设备 100 通信的各种组件,包括一个或多个操纵杆或按钮等功能。控制器 108 还可以为机器人设备 100 执行其他操作。其他控制器的示例也可能存在。
[0051] 此外,机器人设备 100 包括一个或多个传感器 110,例如力传感器、接近传感器、运动传感器、负载传感器、位置传感器、触摸传感器、深度传感器、超声波测距传感器和/或红外传感器等。传感器 110 可以向处理器 102 提供传感器数据,以允许机器人设备 100 与环境进行适当的交互,并监控机器人设备 100 系统运行情况。 传感器数据可用于评估各种因素,以便控制器 108 和/或机器人设备 100 的计算系统激活和停用机械部件 114 和电气部件 116。
[0052] 传感器 110 可以向控制器 108 和/或计算系统提供指示机器人设备环境的信息,以用于确定机器人设备 100 的操作。例如,传感器 110 可以捕获对应于环境地形或附近物体位置的数据,这有助于环境识别和导航等。在示例配置中,机器人设备 100 可以包括传感器系统,该系统可以包括摄像头、雷达(RADAR)、激光雷达(LIDAR)、飞行时间摄像头、全球定位系统(GPS)收发器和/或用于捕获机器人设备 100 环境信息的其他传感器。 传感器 110 可以实时监控环境,并检测障碍物、地形元素、天气状况、温度和/或机器人设备 100 环境的其他参数。
[0053] 此外,机器人设备 100 可以包括配置为接收指示机器人设备 100 状态信息的其他传感器 110,包括可以监控机器人设备 100 各种组件状态的传感器 110。传感器 110 可以测量机器人设备 100 系统的活动,并基于机器人设备 100 各种特征的操作(例如可伸缩腿、手臂或机器人设备 100 的其他机械和/或电气特征的操作)接收信息。传感器提供的传感器数据可以使机器人设备 100 的计算系统能够确定操作中的错误,并监控机器人设备 100 组件的整体运行。
[0054] 例如,计算系统可以使用传感器数据来确定机器人设备 100 在操作期间的稳定性,以及与功率水平、通信活动、需要维修的组件等相关的测量值。作为示例配置,机器人设备 100 可以包括陀螺仪、加速度计和/或其他可能的传感器,以提供与机器人设备运行状态相关的传感器数据。此外,传感器 110 还可以监控功能的当前状态,例如机器人设备 100 当前可能正在运行的步态。此外,传感器 110 可以测量机器人设备的给定机器人腿与机器人设备质心之间的距离。传感器 110 的其他示例用途也可能存在。
[0055] 此外,机器人设备 100 还可以包括一个或多个电源 112,配置为向机器人设备 100 的各种组件供电。在可能的动力系统中,机器人设备 100 可以包括液压系统、电气系统、电池和/或其他类型的动力系统。作为示例说明,机器人设备 100 可以包括一个或多个电池,配置为通过有线和/或无线连接向组件供电。在示例中,机械部件 114 和电气部件 116 的组件可以分别连接到不同的电源,或者可以由同一个电源供电。机器人设备 100 的组件也可以连接到多个电源。
[0056] 在示例配置中,可以使用任何类型的电源为机器人设备 100 供电,例如汽油和/或电动引擎。此外,电源 112 可以使用各种类型的充电方式进行充电,例如连接到外部电源的有线连接、无线充电、燃烧或其他示例。其他配置也可能是可能的。此外,机器人设备 100 可以包括液压系统,配置为使用流体动力向机械部件 114 提供动力。机器人设备 100 的组件可以基于液压流体在整个液压系统中传输到各种液压马达和液压缸等进行操作。机器人设备 100 的液压系统可以通过小管、软管或机器人设备 100 组件之间的其他链路传输大量动力。机器人设备 100 中可以包含其他电源。
[0057] 机械部件 114 可以代表机器人设备 100 的硬件,使机器人设备 100 能够操作并执行物理功能。作为几个示例,机器人设备 100 可以包括致动器、可伸缩腿(“腿”)、手臂、轮子、一个或多个用于容纳计算系统或其他组件的结构化主体,和/或其他机械组件。机械部件 114 可能取决于机器人设备 100 的设计,也可能基于机器人设备 100 配置为执行的功能和/或任务。因此,根据机器人设备 100 的操作和功能,机器人设备 100 可以使用不同的机械部件 114。在一些示例中,机器人设备 100 可以配置为添加和/或移除机械部件 114,这可能涉及用户和/或其他机器人设备的协助。例如,机器人设备 100 最初可能配置有四条腿,但可以由用户或机器人设备 100 更改为移除四条腿中的两条,以作为双足机器人运行。可以包括机械部件 114 的其他示例。
[0058] 电气部件 116 可以包括能够处理、传输、提供电荷或电信号的各种组件,例如。在可能的示例中,电气部件 116 可以包括电线、电路和/或无线通信发射器和接收器,以实现机器人设备 100 的操作。电气部件 116 可以与机械部件 114 相互作用,以使机器人设备 100 能够执行各种操作。例如,电气部件 116 可以配置为将来自电源 112 的电力提供给各种机械部件 114。此外,机器人设备 100 可以包括电动机。电气部件 116 的其他示例也可能存在。
[0059] 在一些实现中,机器人设备 100 还可以包括配置为发送和/或接收信息的通信链路 118。通信链路 118 可以传输指示机器人设备 100 各种组件状态的数据。例如,由传感器 110 读取的信息可以通过通信链路 118 传输到单独的设备。指示电源 112、机械部件 114、电气部件 116、处理器 102、数据存储器 104 和/或控制器 108 的完整性或健康状况的其他诊断信息可以通过通信链路 118 传输到外部通信设备。
[0060] 在一些实现中,机器人设备 100 可以在通信链路 118 处接收由处理器 102 处理的信息。例如,接收到的信息可以指示处理器 102 在执行程序指令 106 期间可访问的数据。此外,接收到的信息可能会改变控制器 108 的某些方面,从而影响机械部件 114 或电气部件 116 的行为。在某些情况下,接收到的信息指示请求特定信息的查询(例如,机器人设备 100 一个或多个组件的操作状态),处理器 102 随后可以通过通信链路 118 传回该特定信息。
[0061] 在某些情况下,通信链路 118 包括有线连接。机器人设备 100 可以包括一个或多个端口,以将通信链路 118 接口连接到外部设备。除了有线连接之外或作为替代,通信链路 118 还可以包括无线连接。一些示例无线连接可以利用蜂窝连接,例如 CDMA、EVDO、GSM/GPRS 或 4G 电信,例如 WiMAX 或 LTE。
[0062] 或者或此外,无线连接可以利用 Wi-Fi 连接将数据传输到无线局域网(WLAN)。在一些实现中,无线连接还可以通过红外链路、无线电、蓝牙或近场通信(NFC)设备进行通信。
[0063] 图 1B 展示了耦合到机器人末端执行器 150 的机器人设备 100(例如,如上文图 1A 所示)的示例配置,根据本发明的一个说明性实施例。机器人末端执行器 150 可以机械地(例如,可以物理安装)、电气地(例如,可以接线)和/或通信地(例如,可以与机器人设备 100 电子通信)耦合到机器人设备 100。在一些实施例中,机器人末端执行器 150 可以从机器人设备 100 和/或从机器人设备 100 的操作员接收电力和/或控制指令。在一些实施例中,机器人末端执行器 150 包括用于机器人末端执行器 150 的控制、电力和/或通信的电子电路。在一些实施例中,机器人末端执行器 150 可从机器人设备 100 拆卸。
[0064] 图 2A 展示了根据本发明一个说明性实施例的人形机器人的示例。机器人设备 200 可以对应于图 1A 所示的机器人设备 100。机器人设备 200 作为机器人设备的一种可能实现方式,该机器人设备可以配置为包括本文所述的系统和/或执行本文所述的方法。机器人设备的其他示例实现方式也可能存在。
[0065] 机器人设备 200 可以包括多个关节式附属物,例如机器人腿和/或机器人手臂。每个关节式附属物可以包括通过关节连接的多个构件,允许关节式附属物在一定的自由度内移动。关节式附属物的每个构件可以具有描述该构件各方面的属性,例如其重量、重量分布、长度和/或形状等属性。同样,连接关节式附属物构件的每个关节可以具有已知属性,例如关节允许的运动范围度数、关节的大小以及关节连接的构件之间的距离等属性。给定的关节可以是允许一个自由度的关节(例如,指关节或铰链关节)、允许两个自由度的关节(例如,圆柱关节)、允许三个自由度的关节(例如,球窝关节)或允许四个或更多自由度的关节。自由度可以指连接到关节的构件绕特定平移或旋转轴移动的能力。
[0066] 机器人设备 200 还可以包括传感器以测量其关节式附属物的关节角度。此外,关节式附属物可以包括多个致动器,这些致动器可以被控制以伸展和缩回关节式附属物的构件。在某些情况下,关节的角度可以基于给定致动器的突出或缩回程度来确定。在某些情况下,关节角度可以从安装在关节式附属物构件上的惯性测量单元(IMU)的位置数据推断出来。在一些实现中,关节角度可以使用旋转位置传感器(例如旋转编码器)来测量。在其他实现中,关节角度可以使用光学反射技术来测量。也可以使用其他关节角度测量技术。
[0067] 机器人设备 200 可以配置为将来自关节式附属物的传感器数据发送到耦合到机器人设备 200 的设备,例如处理系统、计算系统或控制系统。机器人设备 200 可以包括存储器,该存储器包含在机器人设备 200 上的设备中或作为独立组件,传感器数据存储在其上。在一些实现中,传感器数据在存储器中保留一定的时间。在某些情况下,存储的传感器数据可能会被处理或以其他方式转换,以供机器人设备 200 上的控制系统使用。在某些情况下,机器人设备 200 还可以通过有线或无线连接(或其他电子通信手段)将传感器数据传输到外部设备。
[0068] 图 2B 展示了根据本发明一个说明性实施例的具有两个机器人末端执行器 252、254 的人形机器人 250 的示例。在图 2B 中,机器人末端执行器 252、254 连接到人形机器人 250(例如,机械地、电气地和/或通信地),并充当所示人形形式的“手”。每个机器人末端执行器 252、254 可以如下文更详细描述的那样发挥作用。
[0069] 机器人(例如人形机器人 250)的机器人末端执行器(机器人末端执行器 252、254)可以被控制以抓取和/或操纵一个或多个物体,以例如在仓库或汽车制造设施等环境中执行取放操作。机器人可以包括感知系统(例如,一个或多个摄像头或其他传感器),其可用于识别要抓取物体的属性,例如物体的形状和/或物体上可能的抓取位置。至少部分基于感知系统的输出和机器人的运动学,可以执行抓取规划以确定抓取物体的抓取计划。机器人的控制系统随后可以向机器人中的致动器提供控制命令,以根据抓取计划将机器人的手臂和/或末端执行器移动到适当位置以抓取物体。然而,与感知系统和/或控制系统相关的误差可能导致要抓取物体的位置与机器人末端执行器在尝试抓取之前被控制移动到的位置之间出现差异。这种差异可能导致尝试抓取物体时不成功和/或无效。此外,在物体操纵过程中施加在机器人末端执行器上的接触事件和力可能难以被机器人的感知系统感知,并且可能太微小而无法与使用通常耦合到机器人末端执行器的手腕组件中的力扭矩传感器测量的力区分开来。
[0070] 发明人已经认识到并意识到,通过在机器人末端执行器上提供传感能力,可以改进机器人末端执行器对物体的抓取和/或操纵,该传感能力可用于纠正抓取规划和/或执行期间引入的误差源。例如,这种传感能力可以向控制系统提供反馈,以确保绝大多数尝试的抓取都能产生足够强和/或足够顺应的抓取,从而成为成功的抓取。在一些实施例中,一个或多个触觉传感器形成在机器人末端执行器的表面上,以直接观察和收集有关机器人与物体之间近接触和/或接触交互的高分辨率信息。这些信息可用于向机器人的控制系统提供闭环反馈,以改善各种抓取场景,包括但不限于抓取视觉上被遮挡的物体、控制抓取强度和/或已抓取物体上的力分布、检测已抓取物体的滑动、用两个机器人末端执行器重新抓取物体,以及改善预接触接近速度和时机。
[0071] 图 3 是具有三个模块(例如,“手指”)的示例机器人末端执行器 300 的示意图。每个模块包括一个基座构件 310、一个近端连杆 312 和一个远端连杆 314。远端连杆 314 包括形成在远端连杆表面上的触觉传感器 330。远端连杆 314 可以具有多个表面,例如第一表面(例如,前表面)和与第一表面相对的第二表面(例如,后表面)。在一些实施例中,除了前表面和后表面之外,远端连杆 314 还可以包括顶表面、一个或多个侧表面等。远端连杆 314 的一个或多个表面可以包括触觉传感器。在图 3 所示的实施例中,触觉传感器 330 可以布置在单个表面(例如,第一表面)上。在其他实施例中,触觉传感器可以布置在多个表面上,以向机器人末端执行器 300 提供额外的传感能力。在图 7A-7C 中显示了布置在多个表面上的触觉传感器的示例,下文将更详细描述。在这样的实施例中,布置在每个多个表面上的触觉传感器的配置和/或功能可以相同或不同。
[0072] 图 4A 示意性地展示了根据本发明实施例的安装在远端连杆 314 表面上的触觉传感器 330 的俯视图。在一些实施例中,触觉传感器 330 是包含多种不同类型传感器的多模态传感器。例如,触觉传感器 330 可以包括一个接近传感器 410 和一组压力传感器 412。在图 4A 所示的示例中,该组压力传感器 412 呈十字形排列,围绕位于触觉传感器 330 中心的接近传感器 410。应该理解,可以使用接近传感器 410 和压力传感器 412 的其他配置。例如,尽管仅显示了单个接近传感器 410,但应该理解,也可以替代地使用一组(例如,一个、两个、三个、四个或某些其他数量)接近传感器 410。作为另一个示例,该组压力传感器 412 可以包括任何合适数量的压力传感器。在一些实施例中,该组压力传感器 412 包括至少三个压力传感器,可用于感测施加到触觉传感器 330 表面的力。
[0073] 当建立对物体的抓取时,预接触状态和接触后状态之间的过渡可被视为离散和不连续的事件,这可能导致意外碰撞并导致抓取微弱或失败(例如,由于如上所述在抓取规划和/或控制操作期间引入的校准误差)。根据本文所述技术设计的触觉传感器可以通过包括配置为感测不同信息的多种类型的传感器来平滑预接触状态和接触后状态之间的过渡。例如,接近传感器 410 可用于感测要抓取的物体与机器人末端执行器之间的距离。这种距离信息可用于例如控制机器人末端执行器在尝试抓取物体时接近物体的速度和/或方向。在一些实施例中,来自接近传感器 410 的信息可用于指示机器人的控制系统如何重新定向机器人末端执行器,以便从环境中的一个或多个物体获取不同和/或更好的传感器数据。例如,可以至少部分基于来自接近传感器 410 的数据来控制机器人末端执行器,以绘制机器人的感知系统无法观察到的不透明容器内物体的形状。这种信息对于确定容器内要抓取哪个物体以及如何抓取物体可能很有用。该组压力传感器 412 可以在机器人末端执行器接触物体后感测触觉传感器 330 上的接触力(例如,接触力的分布)。在一些实施例中,接近传感器 410 和该组压力传感器 412 可以布置在触觉传感器 330 中,使得它们各自的感测区域(例如,传感器可以感测信息的空间区域)重叠。
[0074] 图 4B 示意性地展示了图 4A 所示触觉传感器 330 的侧视图。从图 4B 所示的侧视图可以观察到,接近传感器 410 和该组压力传感器 412 形成在基板 422 上。例如,基板 422 可以是印刷电路板(PCB)。覆盖层 420 可以形成在触觉传感器 330 的组件之上,以保护组件免受磨损和/或提供相对不受磨损变化影响的传感表面。如本文所述,接近传感器 410 可以配置为发射和接收电磁辐射(例如,可见光或红外光),以检测机器人末端执行器与要抓取物体之间的距离。覆盖层 420 可以包含具有允许从接近传感器 410 投射和/或接收的信号(例如,光学信号、声学信号、电磁信号)在介质中传播的属性的材料。例如,在一些实施例中,覆盖层 420 可以包括光学半透明材料,该材料允许从接近传感器 410 投射的光学信号(例如,激光信号)穿透该材料进行传输。在其他实施例中,接近传感器 410 可以配置为投射电磁信号,并且覆盖层 420 可以包含允许电磁信号穿透覆盖层进行传输的非导电材料。在一些实施例中,覆盖层 420 可以包括柔性和/或软质材料,例如弹性体。发明人已经认识到,抓取和操纵物体时经历的循环加载可能导致覆盖层 420 倾向于从机器人末端执行器上剪切脱落,尤其是在外力很大时。 为了减轻覆盖层 420 以这种方式受损的风险,在一些实施例中,覆盖层 420 的至少一部分被配置为机械耦合到基板 422,以将覆盖层 420 更牢固地固定到基板 422 的刚性结构上。例如,在一些实施例中,覆盖层 420 的至少一部分可以通过包裹基板 422 的至少一个边缘来机械耦合到基板 422。
[0075] 图 4C 示意性地展示了图 4A 和 4B 所示触觉传感器 330 的等轴测视图。如图 4C 所示,一些实施例包括形成在基板 422 和覆盖层 420 之间的刚性结构 430。刚性结构 430 可以是板(例如,金属或硬塑料板),其中形成有一组孔,以使安装在基板 422 上的接近传感器 410 和该组压力传感器 412 能够接收传感器数据。刚性结构 430 还可以通过为触觉传感器 330 的整体结构提供刚性来保护接近传感器 410 和该组压力传感器 412 免受损坏。例如,刚性结构 430 可以通过为覆盖层 420 的压缩提供支撑并将接触力的冲击转移到刚性结构 430,从而在高接触力下保护传感器。
[0076] 图 5A 示意性地展示了根据本发明一个实施例的传感器模块 500(例如,触觉传感器 330)的分解视图。如图所示,传感器模块 500 包括基板 422,其上形成有接近传感器 410 和一组压力传感器 412。刚性结构 430 耦合到基板 422 的顶表面,并包括用于接近传感器 410 和该组压力传感器 412 的一组孔。垫圈 510 和压环 512 布置在基板 422 的底表面附近,并且使用一个或多个紧固件 514(例如,螺钉)将基板 422、垫圈 510 和压环 512 机械耦合到刚性结构 430。覆盖层 420 形成在包括刚性结构 430、基板 422、垫圈 510 和压环 512 的耦合结构之上。覆盖层 420 可以提供感测表面,当抓取物体时,在该表面上可能会发生与物体的接触。
[0077] 图 5B 展示了图 5A 所示组装好的传感器模块 500 的俯视图。如图所示,可以通过为传感器模块 500 提供感测表面的覆盖层 420 观察到接近传感器 410 和该组压力传感器 412。图 5C 展示了图 5A 所示组装好的传感器模块 500 的侧视图。如在图 5C 中可以观察到的,覆盖层 420 可以布置成包围刚性结构 430 和基板 422 的一个或多个边缘。在一些实施例中,覆盖层 420 和垫圈 510 的组合形成了封装基板 422 及其上形成的传感器的连续密封。图 5D 展示了图 5A 所示组装好的传感器模块 500 的底视图。在图 5D 中可以观察到压环 512、紧固件 514 和基板 422 的底表面,该底表面可以包括例如电子元件和用于存储和/或处理耦合到基板 422 的传感组件(例如,接近传感器 410、压力传感器 412)输出的存储器。
[0078] 图 6A 和 6B 示意性地展示了根据本发明一个实施例的图 5A-5D 所示传感器模块 500 安装在机器人的机器人末端执行器的远端连杆 314 上的俯视图和侧视图。图 6A 显示了与本文解释的图 4A 相似的视图和组件,因此为了简洁起见不再重复描述。图 6B 显示了耦合有传感器模块 500 的远端连杆的透明侧视图,这提供了相对于图 4B 所示侧视图的更多细节。特别是,除了覆盖层 420 和基板 422 之外,图 6B 还显示了垫圈 510 和压环 512。如本文所述,覆盖层 420 除了提供感测表面(在该表面上可以通过布置在基板 422 上的该组压力传感器 412 进行力分布测量)之外,还可以保护传感器模块 500 的其他组件免受过度磨损。图 6C 显示了根据本发明一个实施例确定的施加到覆盖层 420 的示例力分布 620,该确定基于该组压力传感器 412 接收到的传感器信号。在图 6C 中,虚线 610 代表在覆盖层 420 不同位置施加的力的大小。如图 4C 的示例所示,与覆盖层 420 的右侧相比,较大的力施加到覆盖层 420 的左侧,导致力分布向左偏斜。图 6D 示意性地展示了接近传感器 410 如何配置为检测到位于传感器模块附近的物体 630 的距离 d。在一些实施例中,为了减少多径效应,接近传感器 410 可以配置为仅检测距离接近传感器 410 小于阈值距离(例如,100 毫米)的物体的距离,而不检测远于阈值距离的物体。
[0079] 在一些包括一组传感器模块的实施例中(例如,具有多个手指的机器人末端执行器,每个手指上都形成有相关的传感器模块),该组传感器模块可以至少部分基于传感器感测到的数据进行校准。这种传感器校准有助于确保每个传感器模块在受到相同输入时输出相同的值。
[0080] 此外,传感器校准可用于跟踪和解释单个传感器输出由于例如长期使用造成的磨损而发生的变化。
[0081] 发明人已经认识到并意识到,机器人末端执行器对物体(包括重物)的重复抓取可以为形成在末端执行器上的触觉传感器的设计特征提供信息。例如,一些以前的类人机器人末端执行器可能被设计为仅抓取和/或操纵小型、轻型物体,因此与此类机器人末端执行器一起使用的触觉传感器可能未考虑到传感器磨损或随着时间的推移可能施加在传感器上的较大力(例如,在工业环境中使用时),如果未得到充分保护,这可能会对传感器造成损坏。在一些实施例中,用于机器人末端执行器的触觉传感器包括使触觉传感器既对大范围的力敏感又耐用的组件和/或配置,以防止由于例如施加在机器人末端执行器上的大力和/或由于重复抓取物体(包括重物)造成的磨损而损坏。
[0082] 在一些实施例中,该组压力传感器 412 被选择为具有动态范围,该动态范围能够对低接触力敏感,此外还具有分辨高接触力而不饱和(或在高力水平下饱和)的能力。例如,在一些实施例中,该组压力传感器 412 中的每个压力传感器配置为具有 1-300N 的动态范围。在一些实施例中,该组压力传感器 412 中的一个或多个压力传感器配置为感测小于 1N 的负载。在一些实施例中,该组压力传感器 412 实现为气压换能器,配置为检测施加到气压换能器上方触觉传感器 330 区域的力(例如,施加到覆盖层 420 的力)。当布置为具有重叠感测区域的压力传感器阵列时,来自该组压力传感器 412 的数据可用于确定触觉传感器 330 表面的力分布,如结合图 6A 所述。例如,当覆盖层 420 实现为弹性体时,其可以配置为分散由与物体的接触引起的压力,以便由该组压力传感器 412 同时测量。
[0083] 在一些实施例中,接近传感器 410 和该组压力传感器 412 可以配置为以近似连续感测的速率感测数据。例如,在一些实施例中,接近传感器 410 可以配置为以至少 100 Hz 的速率感测距离数据,并且该组压力传感器 412 可以配置为以至少 200 Hz 的速率感测数据。在一些实施例中,传感器模块(例如,传感器模块 500)可以包括一个组件(例如,一个或多个处理器),配置为结合接近传感器 410 和该组压力传感器 412 感测到的数据以产生单一数据流,该数据流可以提供给机器人的控制系统。例如,这样的组件可以耦合到或与同基板相关的电子设备通信,在该基板上布置有接近传感器 410 和该组压力传感器 412。
[0084] 在一些实施例中,接近传感器 410 可以是飞行时间传感器,配置为通过覆盖层 420 发射和接收信号。如本文所述,覆盖层 420 可以由半透明介质(例如,半透明弹性体)形成,该介质使飞行时间传感器的激光信号能够穿透该介质传输以检测到物体的距离。在一些实施例中,接近传感器 410 可以包括雷达传感器。除了提供可以发生感测的介质外,覆盖层 420 还可以为传感器模块的组件提供保护功能。例如,覆盖层 420 可以配置为与基板 422 机械耦合或“互锁”。如结合图 4B 和 5C 所述,在一些实施例中,覆盖层 420 可以配置为包裹布置有接近传感器 410 和该组压力传感器 412 的基板 422 的至少一个边缘。这样,接近传感器 410 和该组压力传感器 412 可以“嵌入”在覆盖层 420 的材料中,这可以提供针对损坏和/或磨损的保护。在一些实施例中,可以使用三重周期极小曲面(TPMS)来机械耦合覆盖层 420 和基板 422。例如,此类 TPMS 表面集成机械组件可以使用增材制造技术创建。此外,通过将覆盖层 420 机械耦合到基板 422,当暴露于高力时,覆盖层 420 剪切脱落的可能性较小,这会使传感器暴露于潜在损坏中。
[0085] 发明人已经认识到并意识到,将柔性和/或软质材料(例如弹性体)用于覆盖层 420 可以在磨损方面提供其他优势。例如,如果由于重复使用造成的磨损导致触觉传感器性能大幅下降的情况,则此类材料可以更容易修复。作为一个例子,可以部分或全部去除弹性体的损坏或磨损部分,并且可以在触觉传感器上重新形成新的覆盖层 420(例如,新覆盖层的全部或一部分)以恢复性能。
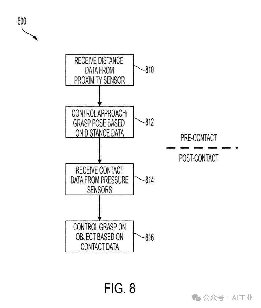
[0086] 在一些实施例中,在将基板 422 粘合到覆盖层 420 之前,可以用冷等离子体处理基板 422 及其上形成的电子设备,以提高基板与覆盖层之间的附着力和结合强度。例如,冷等离子体处理可以通过以下方式改善附着力:在粘合前去除有机污染物来清洁表面;蚀刻基板 422 表面材料,这可以去除薄弱的边界层并增加可用于粘合的材料表面积;促进近表面分子的支化,这可以内聚地增强材料的表层;和/或改变表面化学结构,这可以在冷等离子体处理后重新暴露于空气时增加材料的表面能。
[0087] 如上所述,一些实施例包括具有接近传感器和一组压力传感器的传感器模块,其中接近传感器和该组压力传感器共址(co-located)于传感器模块内。本文所用的术语“共址”描述的是感测场的重叠,而不是感测组件的物理共址。例如,如果位于不同物理位置的两个传感器被布置和/或配置为感测空间中重叠(部分或完全重叠)区域内发生的事件,则它们可被视为共址。在本文描述的示例实施例中,接近传感器和该组压力传感器是共址的,因为这两种类型的传感器都用于感测传感器模块上方空间重叠区域(例如,在覆盖层 420 表面或附近)内的预接触和/或接触后力。
[0088] 图 7A 示意性地展示了根据本发明实施例的安装在机器人末端执行器远端连杆 712 表面上的触觉传感器 710 的等轴测视图。图 7B 展示了图 7A 所示触觉传感器 710 的透明等轴测视图。图 7C 显示了触觉传感器 710 的透明侧视图。与图 4A-4C 所示实施例类似,图 7A-7C 所示触觉传感器 710 是一种包含多种不同类型传感器的多模态传感器。例如,触觉传感器 710 包括一组压力传感器 730 和一组接近传感器 732。该组压力传感器 730 和该组接近传感器 732 不是布置在单个表面上,而是布置在多个表面上以在多个方向上进行感测。如图 7B 和 7C 所示,与在单个表面上包括传感器的触觉传感器相比,在机器人末端执行器的多个表面上包含传感器可以增加传感器的数量。例如,图 7A-7C 所示的示例触觉传感器 710 包括布置在四个不同表面(前、后、左侧和右侧)上的二十二个压力传感器 730 和布置在两个不同表面(前、后)上的两个接近传感器 732。单个接近传感器 732 布置在触觉传感器 710 前表面和后表面的中心。该组压力传感器 730 围绕接近传感器 732 布置,并配置为感测施加到触觉传感器 710 表面的力。例如,该组压力传感器 730 包括布置在前表面上的八个压力传感器、布置在后表面上的八个压力传感器,以及布置在右侧和左侧表面上的各三个压力传感器。
[0089] 如图 4B 所示,可以观察到,在一些实施例中,该组压力传感器 730 和该组接近传感器 732 形成在第一基板 720 上。例如,第一基板 720 可以是柔性印刷电路板(PCB),其可以折叠并固定到触觉传感器支架上,以向触觉传感器 710 提供刚性。覆盖层 724 可以形成在触觉传感器 710 的组件之上,以保护组件免受磨损和/或提供相对不受磨损变化影响的传感表面。如结合图 4A-4C 所示实施例在本文中所述,该组接近传感器 732 可以配置为发射和接收电磁辐射(例如,可见光或红外光),以检测机器人末端执行器与要抓取物体之间的距离。覆盖层 724 可以包含具有允许从该组接近传感器 732 投射和/或接收的信号(例如,光学信号、声学信号、电磁信号)在介质中传播的属性的材料。例如,在一些实施例中,覆盖层 724 可以包括光学半透明材料,该材料允许从该组接近传感器 732 投射的光学信号(例如,激光信号)穿透该材料进行传输。在其他实施例中,该组接近传感器 732 可以配置为投射电磁信号,并且覆盖层 724 可以包含允许电磁信号穿透覆盖层进行传输的非导电材料。在一些实施例中,覆盖层 724 可以包括柔性和/或软质材料,例如弹性体。
[0090] 如图 7B 所示,触觉传感器 710 包括形成在第一基板 720 和覆盖层 724 之间的刚性结构 722。刚性结构 722 可以是板(例如,金属或硬塑料板),其中形成有一组孔,以使安装在第一基板 720 上的该组接近传感器 732 和该组压力传感器 730 能够接收传感器数据。刚性结构 722 还可以通过为触觉传感器 710 的整体结构提供刚性来保护该组压力传感器 730 和该组接近传感器 732 免受损坏。例如,刚性结构 722 可以通过为覆盖层 724 的压缩提供支撑并将接触力的冲击转移到刚性结构 722,从而在高接触力下保护传感器。在一些实施例中,刚性结构 722 可以包含多个部件,配置为在组装时耦合(例如,锁定)在一起。在图 7B 中可观察到,第一基板 720 和/或形成在其上的传感器可以耦合到第二基板 726,该第二基板可以包括例如电子元件和用于存储和/或处理耦合到第一基板 720 的传感组件(例如,该组压力传感器 730、该组接近传感器 732)输出的存储器。
[0091] 当使用机器人末端执行器建立对物体的抓取时,机器人末端执行器与物体之间从预接触状态到接触后状态的过渡是一个离散和不连续的事件,可能导致意外碰撞并导致抓取微弱或失败。在一些实施例中,接近传感用于感测关于要抓取物体的预接触信息,并且该预接触信息可用于控制机器人末端执行器接近物体。在预接触阶段使用布置在机器人末端执行器上的接近传感器的反馈进行控制,可以平滑预接触阶段和接触后阶段之间的离散过渡。图 8 是基于来自传感器模块(例如图 5A 所示的传感器模块 500)的反馈控制机器人末端执行器的过程 800 的流程图,根据本发明的一个实施例。
[0092] 过程 800 开始于动作 810,其中从机器人末端执行器上的接近传感器接收距离数据。如本文所述,布置在机器人末端执行器上的触觉传感器可以包括接近传感器,配置为检测机器人末端执行器与紧邻(例如,100 毫米或更小)机器人末端执行器的物体之间的距离。过程 800 随后进行到动作 812,其中至少部分基于距离数据控制机器人末端执行器的接近和/或抓取姿态。如上所述,机器人末端执行器相对于物体上期望抓取位置的定位误差可能导致机器人末端执行器被控制移动到的位置与要抓取物体的实际位置之间存在差异。由接近传感器感测到的距离数据提供的反馈使得能够通过在物体接近但尚未与机器人末端执行器接触时微调机器人末端执行器对物体的接近来纠正这种差异。进行这种纠正可以在尝试抓取时实现对物体更可靠和/或更牢固的抓取。
[0093] 过程 800 随后进行到动作 814,其中从该组压力传感器接收接触数据。当接近传感器感测到与物体的距离变为零或接近零并且使用该组压力传感器检测到机器人末端执行器与物体之间的接触时,抓取的预接触阶段和抓取的接触后阶段之间会发生平滑过渡。如本文所述,可以处理来自一组压力传感器的接触数据,并确定描述触觉传感器感测表面上的力分布的力分布图(例如,如图 6C 所示)。过程 800 随后进行到动作 816,其中至少部分基于接触数据控制对物体的抓取。可以以任何合适的方式控制抓取。例如,初始接触确定可以启动抓取尝试序列,在该序列中机器人末端执行器的手指包裹要抓取的物体。随着额外的触觉传感器与物体接触而接收到更多的接触数据,可以调节机器人末端执行器各个手指施加的抓取位置和/或力,直到实现牢固抓取。
[0094] 发明人已经认识到并意识到,如本文所述,使用机器人末端执行器上的接近和压力传感器进行触觉传感,该机器人末端执行器已经抓取了物体,这可以促进物体在被抓取时的操纵,这也称为本文中的“动态抓取”。例如,测量机器人末端执行器不同手指对应的多个触觉传感器的触觉传感器表面上物体的力分布的接触数据,可用于控制机器人的手指或其他机器人连杆以执行物体的“手内”操纵。机器人的手内操纵可以包括但不限于:移动物体在机器人末端执行器内的位置、将物体从第一机器人末端执行器转移到第二机器人末端执行器,以及当使用多末端执行器技术抓取物体时协调多个机器人末端执行器之间的抓取。
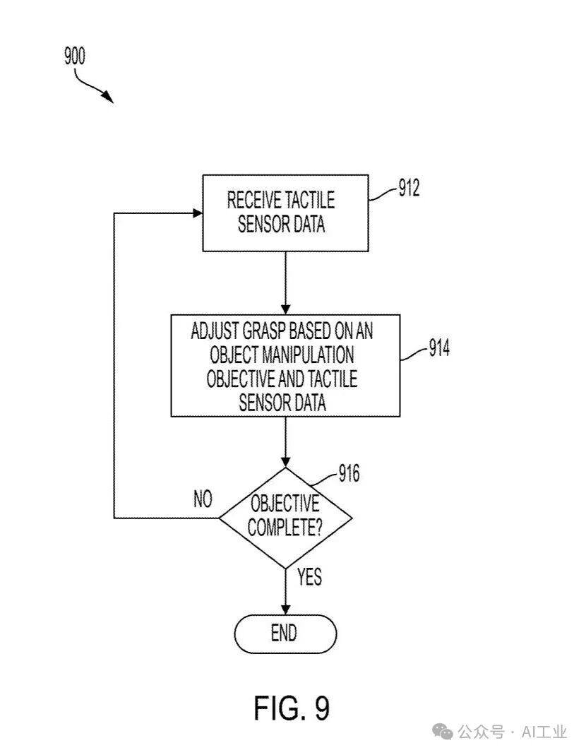
[0095] 图 9 展示了根据本发明实施例的基于触觉传感器反馈的动态抓取过程 900。过程 900 开始于动作 912,其中从布置在机器人末端执行器上的一个或多个触觉传感器接收触觉传感器数据。在一些实施例中,触觉传感器数据可以包括由一个或多个接近传感器感测到的距离数据、由一个或多个压力传感器感测到的接触数据,或者距离数据和接触数据两者。例如,对于布置在机器人末端执行器第一手指上的第一触觉传感器,接收到的触觉传感器数据可以对应于第一距离数据(如果第一手指未与物体接触)或第一接触数据(如果第一手指与物体接触)。对于布置在机器人末端执行器第二手指上的第二触觉传感器,接收到的触觉传感器数据可以对应于第二距离数据(如果第二手指未与物体接触)或第二接触数据(如果第二手指与物体接触)。接收到的触觉传感器数据还可以包括来自布置在机器人末端执行器的其他模块(例如手指)上或附加机器人末端执行器上的触觉传感器的距离数据和/或接触数据。
[0096] 过程 900 随后进行到动作 914,其中至少部分基于物体操纵目标和接收到的触觉传感器数据来调整对物体的抓取。物体操纵目标的示例包括但不限于:维持物体上的特定接触状态、移动物体在机器人末端执行器内的位置、将物体从第一机器人末端执行器转移到第二机器人末端执行器、当使用多末端执行器技术抓取物体时协调多个机器人末端执行器之间的抓取、提升物体、释放对物体的抓取,以及将物体放置在特定位置(例如,将物体滑入插槽)。
[0097] 从触觉传感器接收到的触觉传感器数据可以在物体操纵期间提供反馈,以促进物体操纵目标的成功完成。例如,过程 900 可以进行到动作 916,其中确定物体操纵目标是否已完成。如果在动作 916 中确定物体操纵目标尚未完成,则过程 900 返回到动作 912,其中接收额外的触觉传感器数据,并重复动作 912-914,直到在动作 916 中确定物体操纵目标已完成,之后过程 900 结束。
[0098] 在一些实施例中,触觉传感器数据可用于检测物体在机器人末端执行器抓取中的滑移。可以在检测到滑移的情况下执行重新建立抓取的纠正措施,以减轻物体掉落的风险。在一些实施例中,该组压力传感器感测到的压力分布的时间变异性可用于检测该接触点滑移事件的发生。例如,使用诸如离散小波变换之类的技术将从压力传感器接收到的接触信号分解为高频和低频分量。可以将高频信号特征与随时间变化的阈值进行比较,以检测滑移事件。
[0099] 在一些实施例中,当根据物体操纵目标操纵物体时,连续接收触觉传感器数据。应该理解,随着物体的操纵,特定触觉传感器感测到的数据类型可能会随着一个或多个触觉传感器接触或脱离与物体的接触而改变。例如,考虑这样一个例子,其中物体被夹持在具有三个手指的机器人末端执行器的两个相对手指之间(例如,使用捏合抓取)。物体操纵目标可能是使用机器人末端执行器的一组不同的两个手指重新抓取物体,而不是当前抓取物体的两个手指,同时不掉落物体。为了实现该物体操纵目标,可以控制机器人末端执行器使其三个手指都接触物体,然后释放原始捏合抓取中使用的其中一个手指。当确定第三个手指如何接触物体时,来自第一手指上第一触觉传感器的第一接触数据和来自第二手指上第二触觉传感器的第二接触数据可用于确定(例如,基于一个或多个力分布)如何在第一和第二手指之间移动物体以使第三个手指能够接触物体。来自第三手指上第三触觉传感器的距离数据可用于确定在预接触阶段如何接近物体。接触物体后,来自第三触觉传感器的第三接触数据可用于至少部分地确定如何在第一、第二和第三手指之间移动物体,以将物体定位在第一和第三手指之间,从而可以从物体上释放第二手指。在第一和第二手指之间移动物体后,可以将来自第二触觉传感器的距离数据与第一接触数据和第三接触数据结合使用,以控制第二手指从物体上释放,结果是物体被夹在第一和第三手指之间。
[0100] 尽管上述动态抓取示例是针对使用单个末端执行器的手指进行物体操纵,但应该理解,本文描述的至少部分基于触觉传感器数据执行动态抓取的技术可以扩展到使用多个机器人末端执行器操纵物体。
1. 一种用于机器人末端执行器的传感器模块,该传感器模块包括: 一个基板,其上形成有一组接近传感器和一组压力传感器,该组接近传感器和该组压力传感器被配置为具有重叠的感测区域;以及一个耦合到该基板的覆盖层,该覆盖层包含允许来自该组接近传感器的信号穿透该材料进行传输的材料。
2. 根据权利要求 1 所述的传感器模块,还包括:形成在基板和覆盖层之间的刚性结构。
3. 根据权利要求 2 所述的传感器模块,其中刚性结构包括一个板,该板中形成了用于该组接近传感器和该组压力传感器的孔。
4. 根据权利要求 3 所述的传感器模块,其中刚性结构包括金属结构。
5. 根据权利要求 1 所述的传感器模块,其中覆盖层的至少一部分机械耦合到基板。
6. 根据权利要求 5 所述的传感器模块,其中覆盖层的该至少一部分包裹住基板的边缘。
7. 根据权利要求 1 所述的传感器模块,其中覆盖层包括弹性体。
8. 根据权利要求 1 所述的传感器模块,其中该组接近传感器包括至少一个飞行时间传感器。
9. 根据权利要求 1 所述的传感器模块,其中该组压力传感器包括一组气压换能器。
10. 根据权利要求 1 所述的传感器模块,其中 该组接近传感器包括单个接近传感器,且该组压力传感器包括至少四个布置在单个接近传感器邻近处的压力传感器。
11. 根据权利要求 1 所述的传感器模块,其中该组压力传感器被配置为提供当与物体接触时覆盖层上的接触压力分布。
12. 根据权利要求 1 所述的传感器模块,其中该组压力传感器被配置为以至少 200 Hz 的速率感测接触数据。
13. 根据权利要求 1 所述的传感器模块,其中该组接近传感器被配置为以至少 100 Hz 的速率感测距离数据。
14. 根据权利要求 1 所述的传感器模块,还包括一个组件,配置用于结合来自该组压力传感器的接触数据和来自该组接近传感器的距离数据,以产生单一数据流。
15. 根据权利要求 1 所述的传感器模块,其中基板包括印刷电路板。
16. 根据权利要求 1 所述的传感器模块,其中 该组接近传感器被配置为投射光学信号,且覆盖层包括光学半透明材料。
17. 根据权利要求 1 所述的传感器模块,其中 该组接近传感器被配置为投射电磁信号,且覆盖层包括非导电材料。
18. 根据权利要求 1 所述的传感器模块,其中该组压力传感器中每个压力传感器的动态范围为 1-300N。
19. 一种用于机器人的装置,该装置包括: 一个基座;以及 至少两个耦合到基座的模块,每个模块包括一个近端连杆和一个耦合到近端连杆的远端连杆, 其中每个远端连杆包括一个传感器模块,该传感器模块包括: 一个基板,其上形成有一组接近传感器和一组压力传感器,该组接近传感器和该组压力传感器被配置为具有重叠的感测区域;以及一个耦合到该基板的覆盖层,该覆盖层包含允许来自该组接近传感器的信号穿透该材料进行传输的材料。
20. 一种用机器人末端执行器抓取物体的方法,该方法包括: 接收来自安装在机器人末端执行器上的一组接近传感器的距离数据,其中距离数据指示该组接近传感器与物体之间的距离; 至少部分基于接收到的距离数据控制机器人末端执行器接近物体; 接收来自安装在机器人末端执行器上的一组压力传感器的接触数据,该组压力传感器被配置为具有与该组接近传感器重叠的感测区域;以及至少部分基于接收到的接触数据控制机器人末端执行器抓取物体。
END
为了更好地促进行业人士交流,艾邦搭建了机器人产业微信群,欢迎执行器、灵巧手、结构件、摄像头、IMU、传感器、电芯、动力系统、伺服系统、热管理系统、软件算法等零部件、整机组装、设计、设备、原材料企业,以及机器人品牌、终端应用等企业加入,进群交流。
报名方式:加微信并发名片报名
招展会务组请联系请联系:
扫码添加微信,咨询展会最新详情
2025年,人形机器人产业迎来爆发拐点。特斯拉Optimus量产在即,华为、宇树等企业加速技术突破,行业正从“实验室研发”向“规模化落地”跃迁为打通产业链上下游协作壁垒,艾邦机器人正式组建"人形机器人全产业链交流群",覆盖金属材料、复合材料、传感器、电机、减速器等全硬件环节,助力企业精准对接资源、共享前沿技术!
扫码关注公众号,底部菜单申请进群