
[0002] 本发明涉及一种基于纺织物的大面积压力传感阵列,该阵列包括具有压力传感功能的压力板、导电针织织物、具有介电性质的热塑性聚氨酯层,以及用于生产该阵列的制造方法,可应用于智能纺织、安全、医疗保健、娱乐、艺术行业及机器人等领域。
背景技术
[0003] 在当今技术条件下,机电产品和纺织品趋向一体化,以实现对片状三维结构的生产。这些结构可用于各种技术应用。利用纺织结构实现电导性能的研究不断增加,电子纺织品已经从纯电阻型发展到具有外部刺激响应能力的电子纺织结构。这类电子纺织结构可用于多学科研究,例如电子学、计算机、控制及纺织等领域。电子纺织在体育、机器人、健康管理和身体监测等不同技术应用中发挥重要作用。不同类型的纺织式压力传感器可用于压力、张力以及应变等测量,常见类型包括电阻式、电容式、压电式、感应式等传感器,参见文献 [1]。
[0004] 纺织基电容式传感器通常设计用于压力、张力和应变等应用。带有压力传感功能的纺织结构具有宽工作范围。具有压力传感功能的纺织结构可用于智能纺织、安全、医疗保健、娱乐、艺术及可穿戴应用等领域。以下列出了其中一些应用场景。
[0005] 智能纺织:电子纺织适用于可穿戴技术,因为其具有柔软、可拉伸等特性。设计出的基于纺织物的压力传感结构可以作为可穿戴–计算机接口,在用作衬衫或手套等服装时,实现与计算机的交互。
[0006] 安防:所设计的具有大面积压力传感功能的纺织结构可用作自救车道地垫,当与软件集成后,可对地垫上的人流进行观察与分析,当人跌倒时发出警报,从而预防事故发生。
[0007] 医疗保健:软式压力传感器阵列可用于测量压力强度。这类传感器可以布置在椅子或扶手椅上,用于检测坐姿/平衡障碍;也可布置在轮椅或床上来监测患者,从而实现压力区域的早期检测,因此也称为压疮传感器。
[0008] 物体识别:通过缩小尺寸并借助计算机科学,可精确检测放置在阵列上的物体形状。
[0009] 艺术与音乐:软式压力传感器阵列也是一种候选材料;例如,可用这些传感阵列替代传统的木材和塑料材料制作乐器。比如,可设计一款钢琴键盘或新乐器:通过测量压力强度来确定按键位置。此外,传感器阵列还可作为锻炼设备,配合人工智能算法,用于跟踪舞者的步伐和评价训练进度,相当于专业教练。
[0010] 机器人应用:压力传感器能够测量不同物体特性,并在传感器与物体之间的物理接触中提供信息。例如,机器人在抓取物体时可以配备敏感传感器。传感器会将反馈信息送回控制系统,报告果实是否被压坏或是否从手中滑落。在农业领域,如果采用机器人采摘水果,人工采摘成本有望降低。机器人还能识别成熟果实的程度以及果实是否适合采摘。水果采摘机器人已经被引入该行业。不过,在采摘过程中,脆弱水果可能被夹爪损坏。在这种情况下,软式压力传感器阵列是理想工具,可以为机器人手爪提供触觉,使其能够感知自身施加的压力,并避免损坏农作物。
[0011] 可穿戴传感器:敏感电容式压力传感器通过同时测量不同压力,可以测量压缩强度。然而,可穿戴传感器在使用过程中需要柔软和可拉伸性能,有时甚至要能拉伸到四倍。为了满足这些兼容性问题,纺织材料是理想的柔性、可拉伸及多孔结构。可穿戴电子行业是一个高速增长且快速发展的领域,因此在可穿戴电子行业中,压力传感器也非常重要。
[0012] 然而,现有方法生产的压力传感器在实现批量生产时成本高、工序复杂且耗时长。硅橡胶等产品需要长时间固化,并且需要恒温恒压环境。对于市场上常见的产品,导电墨水或导电浆料通常通过丝网印刷或喷墨印刷到织物,或者需要昂贵的注塑工艺和复杂的装配过程。此外,压力传感器产品没有同时展现出高灵敏度和较宽的工作范围。
[0013] 现有技术中的压力传感器在产品中尚未通过单一方法同时实现高灵敏度及宽工作范围的性能。由于上述原因,在压力板与介电层之间形成的气隙在电介质层和导电层的阵列中提供了高灵敏度。热塑性介电层可为压力传感器提供高可重复性和最重要的宽工作范围。
[0014] 部分压力传感器产品中的电极–导电层可以通过丝网印刷或喷墨印刷形成。在其他产品中,则是在作为介电材料的硅弹性体层之间压入导电织物。以下给出三个示例:
[0015] 在现有技术中,DOI 号为 10.1016/j.sna.2019.111579 的论文中,提出了一种基于聚偏二氟乙烯(polyvinylidene fluoride,PVDF)粉末和碳纳米管的解决方案,该方案在静电纺丝过程中用于制备纳米纤维介电层。在该纳米纤维介电层的表面上,沉积了作为电极的氧化铟锡/聚对苯二甲酸乙二醇酯(indium tin oxide polyethylene terephthalate,ITO/PET)薄膜。
[0016] 在现有技术中,DOI 号为 10.1016/j.sna.2020.112029 的论文中,报道了使用单壁碳纳米管油墨和可拉伸银浆,在聚酯氨纶(polyester spandex,PET/SP)织物上制备电极图案。采用丝网印刷工艺,将单壁碳纳米管印刷到中间织物层的上下表面。随后,通过激光刻蚀的方式对传感器进行成形。再将封装浆料注入层间结构中。在该步骤结束时,形成了具有银/碳纳米管电极层的电容式压力传感器。
[0017] 在现有技术中,DOI 号为 10.7567/JJAP.57.05CC04 的论文中,描述了一种通过印刷和涂覆工艺来制造电容式气隙触摸传感器的方法。底电极以银墨印刷在 PET 基底上。随后,将聚二甲基硅氧烷(polydimethylsiloxane,PDMS)与固化剂混合,并借助一块具有图案的聚酰亚胺掩模形成掩模图形,然后将其旋涂到硅片上。顶电极则通过将可拉伸银墨旋涂到该片材上来形成。最后,将传感器样品浸入四丁基铵(tetrabutylammonium,TBAF)浴中,以去除该层并形成气隙。
[0018] 在现有技术中,DOI 号为 10.1002/admt.201700237 的论文中,提出了一种通过在介电层中产生微小气隙来提高传感器灵敏度的方法。为此,使用了硅橡胶弹性体和糖颗粒。含糖的硅橡胶弹性体在超声波清洗槽中被溶解,留下了硅橡胶中的微孔结构。随后,将该介电层夹在两层导电织物之间。
[0019] 在现有技术中,DOI 号为 10.1016/j.sna.2021.103871 的论文中,提出了一种通过斜向微柱阵列结构的介电层来增强电容式传感器的方法。在该研究中,先将光刻胶通过旋涂方式覆在硅片上。然后对其进行紫外光曝光以形成模板。再将聚二甲基硅氧烷(PDMS)浇注并固化,得到具有弯曲微柱阵列结构的介电层。最后,将该介电层与镀金 PET 电极粘接在一起。
[0020] 在现有技术中,DOI 号为 10.1002/aelm.201870006 的论文中,提出了一种电容式触觉传感器,该传感器采用更为刚性的石墨烯电极,并通过间隔柱将其分开,从而形成气隙。
[0021] 在现有技术中,DOI 号为 10.1002/adom.201702118 的论文中,提到采用多材料三维打印技术,制备了一种触觉感知机构,其具有适应曲面结构的特殊几何形状。在该结构中,底电极层使用银/硅胶油墨打印在硅胶基底层上。随后,分别使用硅胶和生物墨水打印绝缘层和支撑层。顶电极则打印在支撑层上,从而形成传感器。
[0022] 在现有技术中,美国专利文献 US 2016/0182741 公开了一种纺织基压力传感器,该传感器具有导电区域以及位于导电区域之间的绝缘介电隔离层,用于对表面上的压力分布进行电容式测量。
[0023] 然而,尽管软式电容传感技术(包括上述专利与论文)已经取得了进展,在制造复杂度方面仍然存在显著挑战,这限制了其在多种应用中的规模化生产能力以及工作范围。
[0024] 所开发的基于纺织物的大面积压力传感阵列及其制备工艺,可以实现结构简单、生产快速且成本相对较低的制造过程。
[0025] 所开发的基于纺织物的大面积压力传感阵列,得益于其中的气隙结构,能够检测到非常低的压力;同时,热塑性聚氨酯层又拓宽了传感器的工作量程。因此,有必要开发这种包含新型压力传感器结构的纺织基大面积压力传感阵列及其制备工艺,以满足在量产与商业化过程中,对可扩展、低门槛、快速且可重复生产策略的需求。
概要
[0026] 本发明的一个目的,是提供一种具有宽工作范围和高灵敏度的基于纺织物的大面积压力传感阵列,以及一种制造该传感阵列的方法。
[0027] 本发明的另一目的,是提供一种制造基于纺织物的大面积压力传感阵列的方法,使电容式压力传感阵列的制造过程变得快速、可扩展。
[0028] 本发明的又一目的,是通过新型压力传感器结构,实现基于纺织物的大面积压力传感阵列的生产,使该阵列能够在不损伤柔软介电层的情况下,通过施加压力和热量来将传感阵列贴合到压敏板上。
[0029] 本发明提供的基于纺织物的大面积压力传感阵列及其制造方法,在附图中有所示例。
附图简要说明
[0030] 附图说明如下:

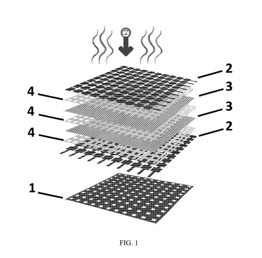
[0031] 图 1:包含基于纺织物的大面积压力传感阵列组成层的织物垫的示意图;

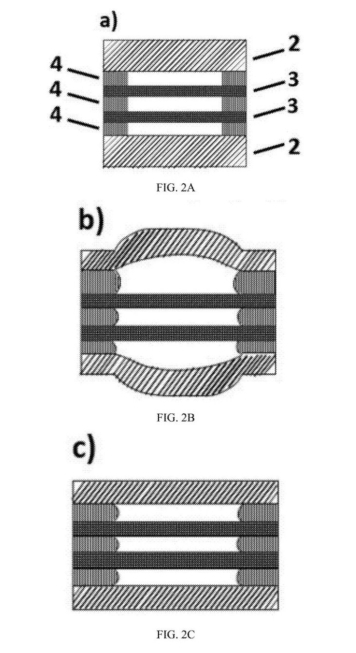
[0032] 图 2A:在施加热和压力之前,基于纺织物的大面积压力传感阵列的截面图,其中未设置压力板;
[0033] 图 2B:在施加热和压力之后,基于纺织物的大面积压力传感阵列的截面图,其中尚未安装新的压力板;
[0034] 图 2C:在施加热和压力之后,安装了新的压力板组件的基于纺织物的大面积压力传感阵列的截面图;

[0035] 图 3:显示传感阵列在仅使用硅橡胶层、仅使用热熔黏合衬布层以及仅使用热塑性聚氨酯(TPU)空气隙层时,其压力灵敏度对比的图;



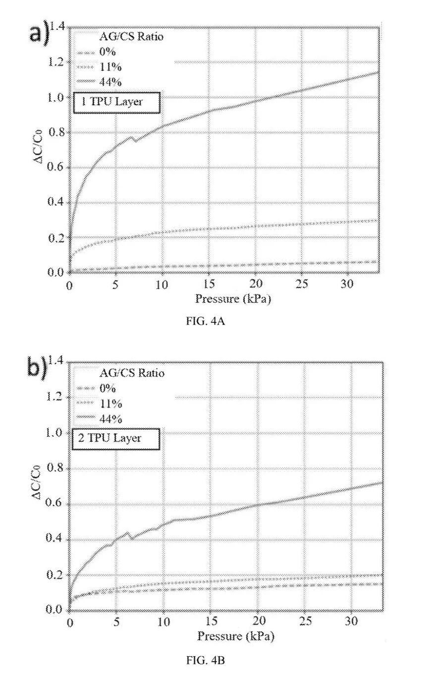
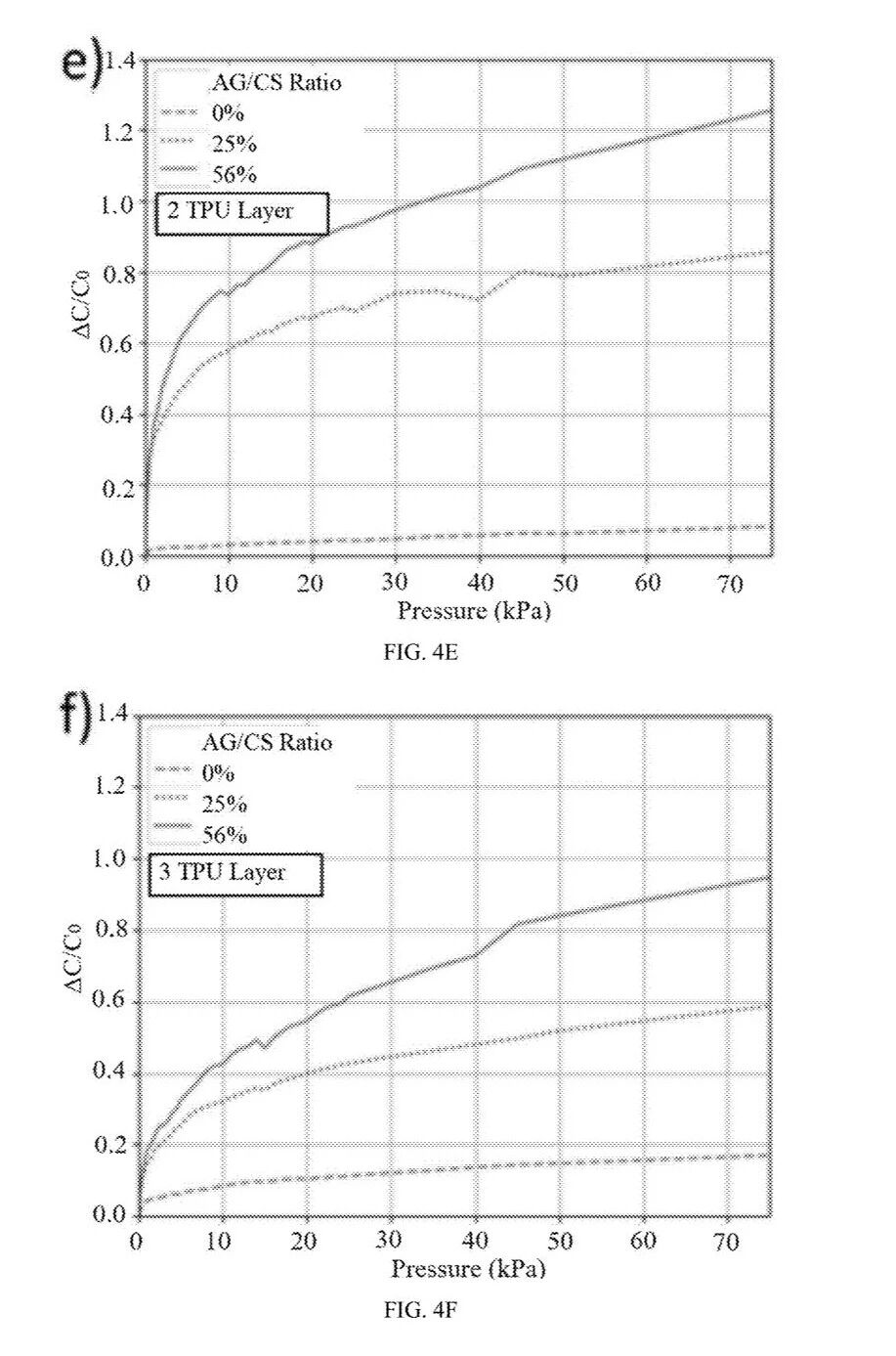
[0036] 图 4A–4F:不同样品的灵敏度结果,其中图 4A–4C 显示的是 15×15 mm² 传感单元,使用一层、两层和三层热塑性聚氨酯薄膜时的灵敏度;图 4D–4F 显示的是 10×10 mm² 传感单元在不同 TPU 层数条件下的灵敏度值。
具体实施方式
[0037] 图中各部分编号及其对应的部件如下:
-
[0038] 1:压力板
-
[0039] 2:导电针织织物
-
[0040] 3:热塑性聚氨酯薄膜
-
[0041] 4:双面热熔黏合衬布层
[0042] 本发明涉及的基于纺织物的大面积压力传感阵列包括如下元件:
[0043] 压力板(1)位于压力传感阵列的下方,其上具有孔洞,用于形成气隙,这些气隙对于实现高灵敏度以及确定在施加热量时哪些区域需要黏合是必需的;
[0044] 导电针织织物(2)具有柔韧性和弹性伸长性能,位于传感器的上下两面,当施加小电压时在压力板(1)上产生电场;
[0045] 热塑性聚氨酯薄膜(3)位于导电针织织物(2)之间,兼具介电与绝缘特性;
[0046] 双面热熔黏合衬布层(4)位于热塑性聚氨酯薄膜(3)与导电针织织物层(2)之间,既保证导电针织织物层之间的粘结,又在层间形成气隙,并在加热时具有熔融能力。
[0047] 在现有技术中,产品的生产过程复杂、昂贵且耗时。本发明提出的分层方式可解决这些缺点。利用激光切割将双面热熔黏合衬布(4)加工成阵列结构。激光切割完成后,将该双面热熔黏合衬布层置于压力板(1)上,通过上、下加压板施加压力。双面热熔黏合衬布层(4)在加热后开始熔融,并促使导电针织织物(2)向压力板(1)方向延伸,形成气隙,从而得到基于纺织物的大面积压力传感阵列。
[0048] 通过压力板(1)与导电针织织物层(2)之间的气隙,可以保证良好的灵敏度。热塑性聚氨酯薄膜(3)具有高性能的介电性质,其在压力范围低于 10 kPa 时的灵敏度最高可达 306.69×10⁻² kPa⁻¹,在 10–30 kPa 范围内可达 9.44×10⁻² kPa⁻¹(见表 1)。由此可知,当压力超过 10 kPa、传感器中的气隙完全闭合时,灵敏度会降低;与此同时,热塑性聚氨酯薄膜(3)确保开发出的压力传感阵列在高达 100 kPa 的宽工作范围内具有良好性能。这些改进后的基于纺织物的大面积压力传感阵列,在压力传感器产品的生产中实现了显著改进,并推动了压力传感器在多种应用中的推广使用。
[0049] 图 4A–4C 展示了 15×15 mm² 传感单元在不同热塑性聚氨酯薄膜层数下的灵敏度曲线;图 4D–4F 展示了 10×10 mm² 传感单元在不同 TPU 层数下的灵敏度曲线。可以看到,随着 TPU 层数增加,灵敏度也随之提高,而 10×10 mm² 传感单元由于气隙/单元面积比更大,其最大灵敏度可比 15×15 mm² 单元高出 15 倍。
[0050] 气隙形成于各层之间,以获得高灵敏度。常见的软质介电材料难以通过气隙来解决柔性问题。本发明通过在层间设置气隙,即便对轻触也能被检测到。为此,在层之间使用双面热熔黏合衬布层(4),该层包含蜂窝状的格子结构。通过设计这种格子结构并借助激光切割工艺,可以得到蜂窝状单元阵列。因而在施加热和压力时,双面热熔黏合衬布层(4)仅在阵列单元的边缘处与导电织物以及热塑性聚氨酯薄膜粘结,而阵列单元的内部保持空腔,形成气隙。
[0051] 虽然气隙显著提高了开发出的压力传感阵列的灵敏度,但其在高压下会完全闭合,从而让压力传感器失去灵敏度。在这种情况下,引入热塑性聚氨酯薄膜(3)可以扩展传感器的工作范围。
[0052] 设计的新型压力板(1)带有孔洞,负责形成气隙。压力板(1)决定了在施加热量的过程中,哪些区域需要与双面热熔黏合衬布层(4)接触。压力板(1)的孔位与预期的压力传感阵列单元的尺寸一致,因此可精确控制气隙的位置和尺寸。
[0053] 导电针织织物(2)通过激光切割形成阵列结构。当在这些传感阵列上施加小电压时,会形成电场。具有弹性结构的这些材料在多次弯折、压缩或拉伸之后能够恢复原状,因此电容值可以恢复到初始值并具有良好重复性。导电针织织物(2)具有很好的拉伸范围和弹性强度。压力板(1)只在阵列单元边缘处施加压力,使其中心区域在加压后仍能向外扩展。正如图 2C 所示,如果不用设计的压力板(1)而直接进行加热–加压工艺,则整个导电针织织物层(2)都会鼓包,从而抑制气隙形成并恶化压力传感性能。
[0054] 热塑性聚氨酯薄膜(3)可以拉伸到其原长的 500%,这不会抑制导电针织织物(2)的可伸长性。在本研究中,热塑性聚氨酯薄膜(3)被用作介电层。
[0055] 双面热熔黏合衬布层(4)在加热时具有熔融能力。通过激光切割成阵列结构之后,由于其特殊设计,仅在单元边缘处实现粘结,从而在层与层之间形成气隙。双面热熔黏合衬布层(4)还可以使导电针织织物层(2)与热塑性聚氨酯薄膜层(3)整体贴合在一起。
[0056] 本发明所开发的传感阵列的优势如下:
[0057] 灵敏度通过压力板(1)与导电针织织物(2)层之间形成的气隙来提供;热塑性聚氨酯薄膜(3)则提供宽工作范围。
[0058] 热塑性聚氨酯薄膜(3)在层间起到绝缘和介电作用,并保证传感器具有宽工作范围。
[0059] 由于气隙结构以及各层之间的柔性连接,这些传感阵列具有可扩展的制造工艺和固有柔性,非常适合大规模生产。
权利要求
[0064]权利要求 1:
一种基于纺织物的大面积压力传感阵列,包括:
-
具有柔韧性和弹性伸长性能的导电针织织物层,其位于基于纺织物的大面积压力传感阵列的上下两面,当施加小电压时在压力板上产生电场;
-
位于基于纺织物的大面积压力传感阵列底部的压力板,该压力板带有孔洞,用于形成气隙,这些气隙对于高灵敏度以及在施加热量时实现局部粘结是必须的;
-
夹设在导电针织织物层之间、具有柔性并兼具介电与绝缘特性的热塑性聚氨酯薄膜层;
-
设置在导电针织织物层与热塑性聚氨酯薄膜层之间的双面热熔黏合衬布层,其中,双面热熔黏合衬布层在加热时具有熔融能力,可在导电针织织物层与热塑性聚氨酯薄膜层之间形成气隙并实现粘结。
声明:本文素材来源于 US20250180421A1,致敬原作者。侵权可后台联系删除。
👇 扫码加入「AI工业/机器人」知识星球,获取更多资料

2025年,人形机器人产业迎来爆发拐点。特斯拉Optimus量产在即,华为、宇树等企业加速技术突破,行业正从“实验室研发”向“规模化落地”跃迁为打通产业链上下游协作壁垒,艾邦机器人正式组建"人形机器人全产业链交流群",覆盖金属材料、复合材料、传感器、电机、减速器等全硬件环节,助力企业精准对接资源、共享前沿技术!
扫码关注公众号,底部菜单申请进群

